Part Number Hot Search : 
SCNA1F 08T001 SMA5922B 58V65A XEB332 103360 1468420 F00011
Product Description
Full Text Search

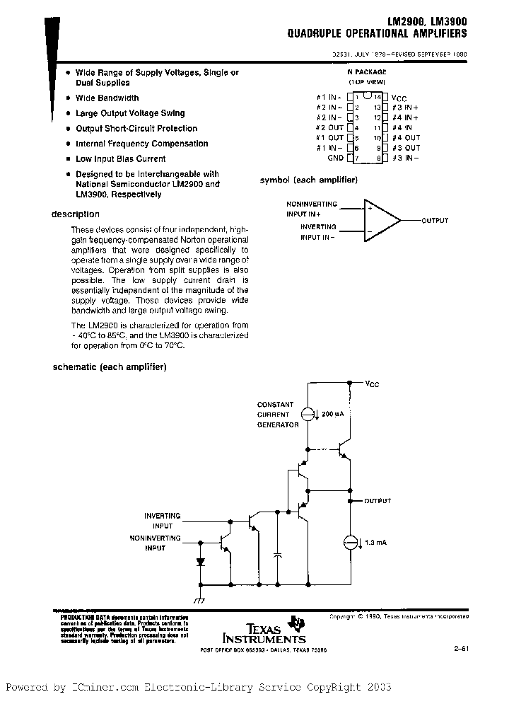
LM3900D - Voltage-FeedbackOperationalAmplifier

LM3900D_203570.PDF Datasheet

 
Part No. LM3900D LM3900DR
Description Voltage-FeedbackOperationalAmplifier

File Size 226.03K  /  7 Page  

Maker

N/A



JITONG TECHNOLOGY
(CHINA HK & SZ)
Datasheet.hk's Sponsor

Part: LM3900D
Maker:
Pack: SOP
Stock: Reserved
Unit price for :
    50: $1.48
  100: $1.40
1000: $1.33

Email: oulindz@gmail.com

Contact us

Homepage
Download [ ]
[ LM3900D LM3900DR Datasheet PDF Downlaod from Datasheet.HK ]
[LM3900D LM3900DR Datasheet PDF Downlaod from Maxim4U.com ] :-)


[ View it Online ]   [ Search more for LM3900D ]

[ Price & Availability of LM3900D by FindChips.com ]

 Full text search : Voltage-FeedbackOperationalAmplifier
 Product Description search : Voltage-FeedbackOperationalAmplifier


 Related Part Number
PART Description Maker
KA75270 KA75270M KA75270Z KA75330Z KA75290M KA7529 Voltage Detector (4.5V)
Voltage Detector (2.7V)
Voltage Detector (4.2V)
Voltage Detector (3.9V)
Voltage Detector (2.9V)
Voltage Detector (3.1V)
Voltage Detector 1-CHANNEL POWER SUPPLY SUPPORT CKT, PBCY3
Voltage Detector 电压检测器
   Voltage Detector
FAIRCHILD[Fairchild Semiconductor]
Fairchild Semiconductor Corporation
Fairchild Semiconductor, Corp.
TC514101AJ-60 TC514101AP TC514101AP-60 TC514101ASJ Voltage Regulator IC; Package/Case:3-TO-220; Supply Voltage:-35V; Output Current:1A; Output Voltage:-15V; Voltage Regulator Type:Negative Voltage; Mounting Type:Through Hole
4,194,304 WORD x 1 BIT DYNAMIC RAM
Toshiba Corporation
TOSHIBA[Toshiba Semiconductor]
MAX8213A MAX8213B MAX8213 MAX8214BESE MAX8214A MAX Five Universal Voltage Monitors, Complete µP Voltage Monitoring
"Five Universal Voltage Monitors, Complete μP Voltage Monitoring"
" Five Universal Voltage Monitors, Complete μP Voltage Monitoring"
Five Universal Voltage Monitors-Complete Microprocessor Voltage Monitoring
Five Universal Voltage Monitors - Complete Microprocessor Voltage Monitoring
Five Universal Voltage Monitors with Active Pull-Ups
From old datasheet system
ECONOLINE: RBM - New Micro Size SIP 6 Package- Industry Standard Pinout- 3kVDC Isolation- UL94V-0 Package Material- Efficiency to 85%
Five Universal Voltage Monitors, Complete µP Voltage Monitoring 5-CHANNEL POWER SUPPLY SUPPORT CKT, PDIP16
Synchronous 4-Bit Binary Counters 16-CDIP -55 to 125 5-CHANNEL POWER SUPPLY SUPPORT CKT, PDSO16
MAXIM - Dallas Semiconductor
Maixm
MAXIM[Maxim Integrated Products]
Maxim Integrated Products, Inc.
MAXIM INTEGRATED PRODUCTS INC
HZU16B1TRF-E HZU2.7B1TLF HZU2.0BTLF HZU2.4BTRF-E H 15.69 V, 0.2 W, SILICON, UNIDIRECTIONAL VOLTAGE REGULATOR DIODE
2.625 V, 0.2 W, SILICON, UNIDIRECTIONAL VOLTAGE REGULATOR DIODE
2.05 V, 0.2 W, SILICON, UNIDIRECTIONAL VOLTAGE REGULATOR DIODE
2.45 V, 0.2 W, SILICON, UNIDIRECTIONAL VOLTAGE REGULATOR DIODE
2.925 V, 0.2 W, SILICON, UNIDIRECTIONAL VOLTAGE REGULATOR DIODE
3.225 V, 0.2 W, SILICON, UNIDIRECTIONAL VOLTAGE REGULATOR DIODE
2.25 V, 0.2 W, SILICON, UNIDIRECTIONAL VOLTAGE REGULATOR DIODE
3.525 V, 0.2 W, SILICON, UNIDIRECTIONAL VOLTAGE REGULATOR DIODE
3.075 V, 0.2 W, SILICON, UNIDIRECTIONAL VOLTAGE REGULATOR DIODE
3.375 V, 0.2 W, SILICON, UNIDIRECTIONAL VOLTAGE REGULATOR DIODE
2.775 V, 0.2 W, SILICON, UNIDIRECTIONAL VOLTAGE REGULATOR DIODE
7.21 V, 0.2 W, SILICON, UNIDIRECTIONAL VOLTAGE REGULATOR DIODE
5.795 V, 0.2 W, SILICON, UNIDIRECTIONAL VOLTAGE REGULATOR DIODE
4.515 V, 0.2 W, SILICON, UNIDIRECTIONAL VOLTAGE REGULATOR DIODE
30 V, 0.2 W, SILICON, UNIDIRECTIONAL VOLTAGE REGULATOR DIODE
23.445 V, 0.2 W, SILICON, UNIDIRECTIONAL VOLTAGE REGULATOR DIODE
21.325 V, 0.2 W, SILICON, UNIDIRECTIONAL VOLTAGE REGULATOR DIODE

BY268 BY269 RP40 (GW) Series - Powerline Regulated DC-DC Converters; Input Voltage (Vdc): 24V; Output Voltage (Vdc): 5V; 4:1 Wide Input Voltage Range; 40 Watts
0.8A FAST RECOVERY HIGH VOLTAGE GLASS BODY RECTIFIER
Diodes Inc.
DIODES[Diodes Incorporated]
SL74HC534 SL74HC534D SL74HC534N HC534 Octal 3-State Inverting D Flip-Flop(High-Performance Silicon-Gate CMOS)
Voltage Regulator IC; Package/Case:3-TO-3; Current Rating:1.5A; Output Voltage Max:-12V; Voltage Regulator Type:Fixed Voltage; Mounting Type:Through
System Logic Semiconduc...
SLS[System Logic Semiconductor]
System Logic Semiconductor Co., Ltd.
FXLA104 FXLA104UMX Low-Voltage Dual-Supply 4-Bit Voltage Translator with Configurable Voltage Supplies and Signal Levels, 3-State Outputs, and Auto Direction Sensing
Fairchild Semiconductor
FXLA108 FXLA108BQX Low-Voltage Dual-Supply 8-Bit Voltage Translator with Configurable Voltage Supplies and Signal Levels, 3-State Outputs, and Auto Direction Sensing
Fairchild Semiconductor
SZ5A2.41 SZ5A8.2SMTX SZ5A8.2TX SZ5A6.2SMSTX SZ5B6. 2.4 ?200 VOLTS ZENER DIODES
8.2 V, 0.8 W, SILICON, UNIDIRECTIONAL VOLTAGE REGULATOR DIODE HERMETIC SEALED, GLASS, SM, 2 PIN
8.2 V, 0.5 W, SILICON, UNIDIRECTIONAL VOLTAGE REGULATOR DIODE HERMETIC SEALED, GLASS PACKAGE-2
6.2 V, 0.8 W, SILICON, UNIDIRECTIONAL VOLTAGE REGULATOR DIODE HERMETIC SEALED, GLASS, SMS, 2 PIN
6.2 V, 0.8 W, SILICON, UNIDIRECTIONAL VOLTAGE REGULATOR DIODE HERMETIC SEALED, GLASS, SM, 2 PIN
6.2 V, 0.5 W, SILICON, UNIDIRECTIONAL VOLTAGE REGULATOR DIODE HERMETIC SEALED, GLASS PACKAGE-2
130 V, 0.8 W, SILICON, UNIDIRECTIONAL VOLTAGE REGULATOR DIODE
68 V, 0.8 W, SILICON, UNIDIRECTIONAL VOLTAGE REGULATOR DIODE
160 V, 0.8 W, SILICON, UNIDIRECTIONAL VOLTAGE REGULATOR DIODE
22 V, 0.8 W, SILICON, UNIDIRECTIONAL VOLTAGE REGULATOR DIODE
56 V, 0.5 W, SILICON, UNIDIRECTIONAL VOLTAGE REGULATOR DIODE
27 V, 0.8 W, SILICON, UNIDIRECTIONAL VOLTAGE REGULATOR DIODE
7.5 V, 0.8 W, SILICON, UNIDIRECTIONAL VOLTAGE REGULATOR DIODE
190 V, 0.8 W, SILICON, UNIDIRECTIONAL VOLTAGE REGULATOR DIODE
110 V, 0.8 W, SILICON, UNIDIRECTIONAL VOLTAGE REGULATOR DIODE
120 V, 0.5 W, SILICON, UNIDIRECTIONAL VOLTAGE REGULATOR DIODE
150 V, 0.8 W, SILICON, UNIDIRECTIONAL VOLTAGE REGULATOR DIODE
24 V, 0.8 W, SILICON, UNIDIRECTIONAL VOLTAGE REGULATOR DIODE
2.7 V, 0.5 W, SILICON, UNIDIRECTIONAL VOLTAGE REGULATOR DIODE
5.6 V, 0.8 W, SILICON, UNIDIRECTIONAL VOLTAGE REGULATOR DIODE
5.1 V, 0.8 W, SILICON, UNIDIRECTIONAL VOLTAGE REGULATOR DIODE
47 V, 0.8 W, SILICON, UNIDIRECTIONAL VOLTAGE REGULATOR DIODE
33 V, 0.8 W, SILICON, UNIDIRECTIONAL VOLTAGE REGULATOR DIODE
28 V, 0.8 W, SILICON, UNIDIRECTIONAL VOLTAGE REGULATOR DIODE
24 V, 0.5 W, SILICON, UNIDIRECTIONAL VOLTAGE REGULATOR DIODE
36 V, 0.8 W, SILICON, UNIDIRECTIONAL VOLTAGE REGULATOR DIODE
2.5 V, 0.8 W, SILICON, UNIDIRECTIONAL VOLTAGE REGULATOR DIODE
43 V, 0.8 W, SILICON, UNIDIRECTIONAL VOLTAGE REGULATOR DIODE
25 V, 0.8 W, SILICON, UNIDIRECTIONAL VOLTAGE REGULATOR DIODE
Solid States Devices, Inc
Solid State Devices, Inc.
SOLID STATE DEVICES INC
TC4626 TC4626EOE TC4626EPA TC4627 TC4627COE TC4627 Power CMOS Drivers With Voltage Tripler
The TC4626/4627 are single CMOS high speed drivers with an on-board voltage boost circuit. These parts work with an input supply voltage from 4 to 6 volts. The internal voltage booster will produce a VBOOST potential up to 12 volts above V
Microchip Technology Inc.
MICROCHIP[Microchip Technology]
TC51 TC51N1802ECBTR TC51N5002ECBTR TC51N2702ECBTR 1A Voltage Detector with Output Delay
1UA Voltage Detector with Output Delay
The TC51 is a very low power, open drain output, CMOS voltage detector with built-in delay. It is particularly well-suited for battery powered applications because of its ex-tremely low 1 µA operating current and small surface-mount p
1ヌA VOLTAGE DETECTOR WITH OUTPUT DELAY
1レA Voltage Detector with Output Delay
1μA Voltage Detector with Output Delay
FLUORESCENT STARTER TO 65WFLUORESCENT STARTER TO 65W; Diameter, External:21.5mm; Length / Height, external:40.3mm; Material:Polycarbonate; Voltage, supply AC:220V
MICROCHIP[Microchip Technology]
Microchip Technology Inc.
BSP50BSP52 BSP51 Q62702-P1165 BSP50 BSP50BBSP52 BS NPN Silicon Darlington Transistors (High collector current Low collector-emitter saturation voltage)
From old datasheet system
RP10 (E) Series - Powerline Regulated DC-DC Converters; Input Voltage (Vdc): 12V; Output Voltage (Vdc): 3.3V; 2:1 Wide Input Voltage Range; 10 Watts
Siemens Semiconductor G...
Infineon
SIEMENS[Siemens Semiconductor Group]
SIEMENS AG
SIEMENS A G
 
 Related keyword From Full Text Search System
LM3900D Search LM3900D quad op amp LM3900D usb charger circuit LM3900D regulation LM3900D mode
LM3900D stock LM3900D Battery MCU LM3900D mosi program LM3900D Processors LM3900D electronics
 

 

Price & Availability of LM3900D

All Rights Reserved © IC-ON-LINE 2003 - 2022  

[Add Bookmark] [Contact Us] [Link exchange] [Privacy policy]
Mirror Sites :  [www.datasheet.hk]   [www.maxim4u.com]  [www.ic-on-line.cn] [www.ic-on-line.com] [www.ic-on-line.net] [www.alldatasheet.com.cn] [www.gdcy.com]  [www.gdcy.net]


 . . . . .
  We use cookies to deliver the best possible web experience and assist with our advertising efforts. By continuing to use this site, you consent to the use of cookies. For more information on cookies, please take a look at our Privacy Policy. X
1.3091909885406